Trimgivare Tohatsu
Lägg till en bevakning så meddelar vi dig så snart varan är i lager igen.
Trimgivare Tohatsu
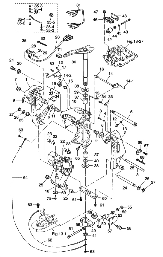
Trimgivare Tohatsu flera stora modeller 4-takt och TLDI, bl.a 70 - 115 TLDI, MFS 75 - MFS 140 4-takt
Se sprängskiss för rätt del. Nr 28 i bild
Fri frakt över 2000kr
30 dagars öppet köp
Snabba leveranser
