Tätningssats växelhus Tohatsu

Lägg till en bevakning så meddelar vi dig så snart varan är i lager igen.

Produkten är nu bevakad
Vi meddelar dig så snart varan är i lager igen.

Tätningssats växelhus Tohatsu

Passar Tohatsu  M 4 C - M 5 B  tvåtakt samt MFS 4 - MFS 6 hk, 4-takt

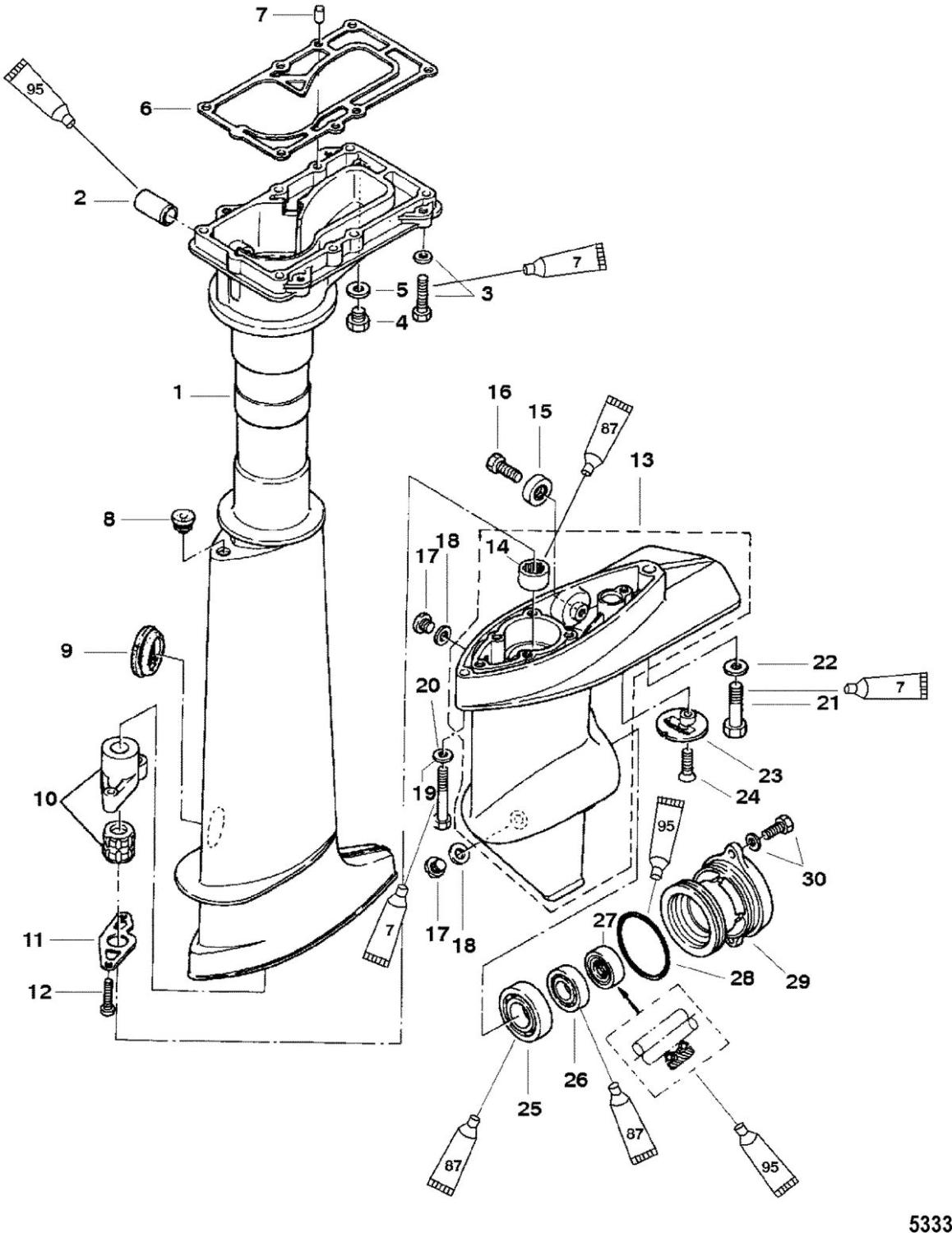
Innehåller art:

332-60006-1 ,  Packning växelhusoljeplugg, 2 st.  -  nr 18 i bild 2
369-60111-0 ,  Packbox lagerhus  -  nr 27 i bild 2
345-65015-0 ,  O-ring lagerhus  -  nr28 i bild 2
369-65018-1 ,  Impellerhuspackning, övre
369-65029-0 ,  Impellerhuspackning, nedre under platta
369-60223-0 ,  Packbox under impellerhus
369-65020-0 ,  Packning nedre impellerhus
369-66021-1 ,  O-ring växelstång, lilla
332-66032-0 ,  O-ring växelstång, stora

 

Ers. art. 369-87321-0 och 369-87321-1

 

Fri frakt över 2000kr

30 dagars öppet köp

Snabba leveranser

JavaScript seem to be disabled in your browser.

You must have JavaScript enabled in your browser to utilize the functionality of this website.