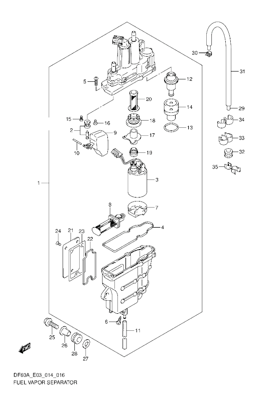
Reservdelar Bränsle förgasare & pumpar Suzuki Skruv Suzuki Lägg till en bevakning så meddelar vi dig så snart varan är i lager igen. Produkten är nu bevakad Vi meddelar dig så snart varan är i lager igen. E-postadress Lägg till bevakning Dina personuppgifter behandlas i enlighet med vår integritetspolicy. Skruv Suzuki Skruv i vapor, Suzuki DF 40 A - DF 200 A, 4-takt flera modeller Se sprängskiss för rätt del Nr 15 i bild Ers art 02112-0408A Fri frakt över 2000kr 30 dagars öppet köp Snabba leveranser Reservdelar Motortillbehör Oljor Kampanjer Sprängskisser Motorinformation