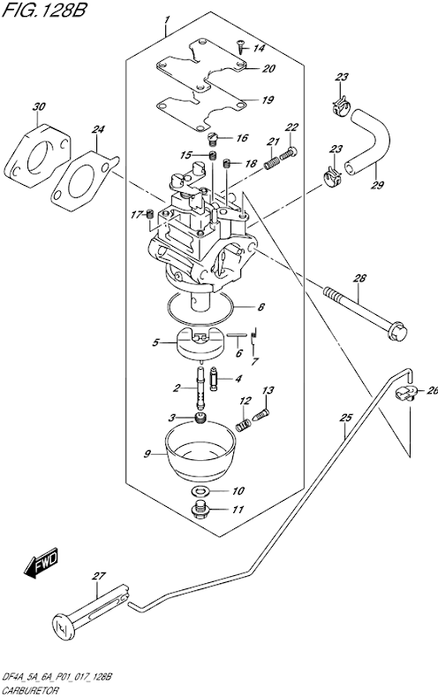
Reservdelar Bränsle förgasare & pumpar Suzuki Skruv Suzuki Lägg till en bevakning så meddelar vi dig så snart varan är i lager igen. Produkten är nu bevakad Vi meddelar dig så snart varan är i lager igen. E-postadress Lägg till bevakning Dina personuppgifter behandlas i enlighet med vår integritetspolicy. Skruv Suzuki Skruv förgasare Suzuki DF 2,5 - DF 4 A - DF 6 A, 4-takt flera modeller Se sprängskiss för rätt del Nr 16 i bild Fri frakt över 2000kr 30 dagars öppet köp Snabba leveranser Reservdelar Motortillbehör Oljor Kampanjer Sprängskisser Motorinformation