O-ring förgasare Tohatsu
Lägg till en bevakning så meddelar vi dig så snart varan är i lager igen.
O-ring förgasare Tohatsu
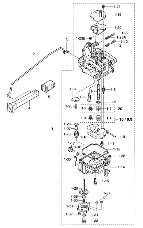
O-ring/tätning förgasare Tohatsu MFS 8 - MFS 9,8 hk 209 cc samt MFS 9,9 - MFS 20 hk 351 cc, 4-takt vissa modeller
Se sprängskiss för rätt del och antal - nr 1-37 i bild.
Samma som Mercury art 898103224
Fri frakt över 2000kr
30 dagars öppet köp
Snabba leveranser
