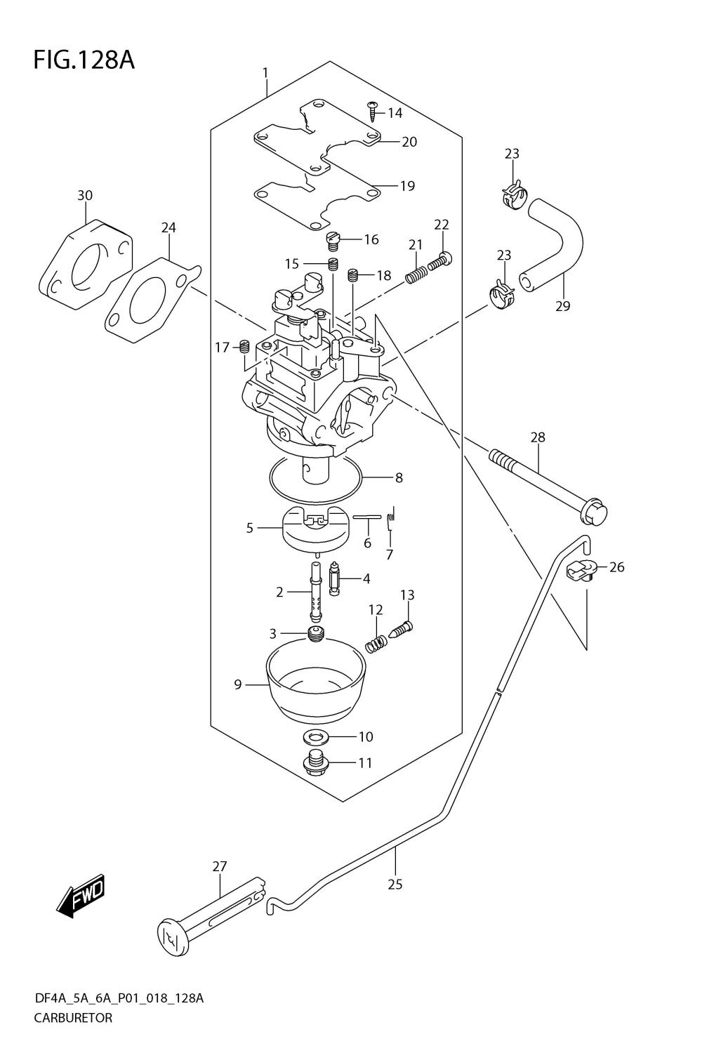
Reservdelar Bränsle förgasare & pumpar Suzuki Munstycke Suzuki Lägg till en bevakning så meddelar vi dig så snart varan är i lager igen. Produkten är nu bevakad Vi meddelar dig så snart varan är i lager igen. E-postadress Lägg till bevakning Dina personuppgifter behandlas i enlighet med vår integritetspolicy. Munstycke Suzuki Munstycke, pilot jet # 41, Suzuki DF 6 A, 4-takt flera modeller Se sprängskiss för rätt del. Nr 15 i bild 2 Fri frakt över 2000kr 30 dagars öppet köp Snabba leveranser Reservdelar Motortillbehör Oljor Kampanjer Sprängskisser Motorinformation