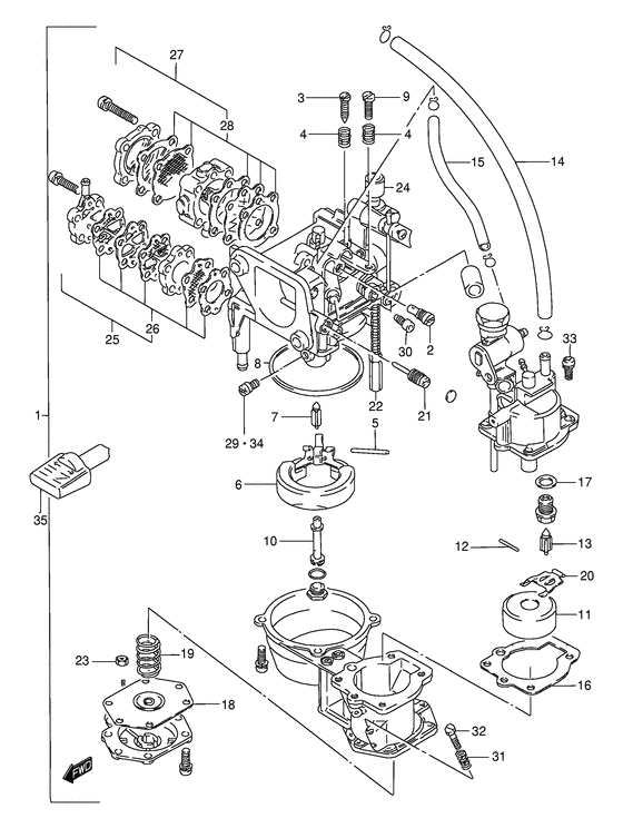
Reservdelar Bränsle förgasare & pumpar Suzuki Membran förgasare Suzuki Lägg till en bevakning så meddelar vi dig så snart varan är i lager igen. Produkten är nu bevakad Vi meddelar dig så snart varan är i lager igen. E-postadress Lägg till bevakning Dina personuppgifter behandlas i enlighet med vår integritetspolicy. Membran förgasare Suzuki Membran förgasare Suzuki DT 9,9 - DT 15 hk, 2-takt vissa modeller Se sprängskiss för rätt del Nr 18 i bild Fri frakt över 2000kr 30 dagars öppet köp Snabba leveranser Reservdelar Motortillbehör Oljor Kampanjer Sprängskisser Motorinformation