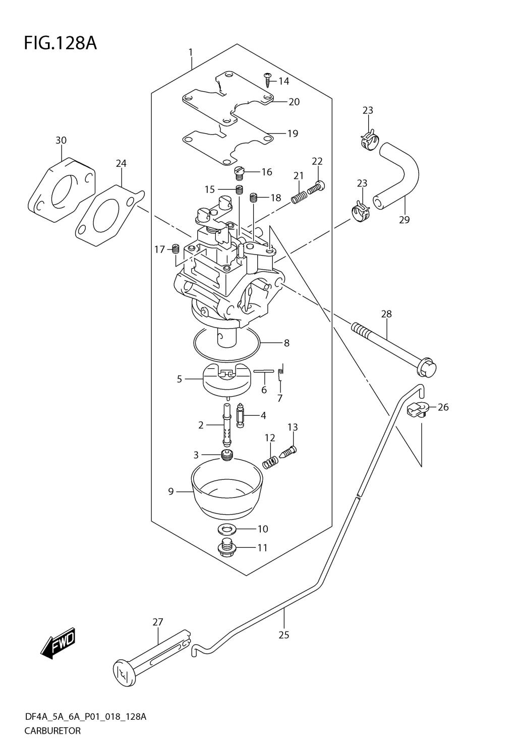
Huvudmunstycke Suzuki
Lägg till en bevakning så meddelar vi dig så snart varan är i lager igen.
Huvudmunstycke Suzuki
Huvudmunstycke, # 72, förgasare Suzuki DF 2,5 hk samt DF 6 A hk, 4-takt flera modeller
Se sprängskiss för rätt del
Nr 3 i bild 2
Fri frakt över 2000kr
30 dagars öppet köp
Snabba leveranser
