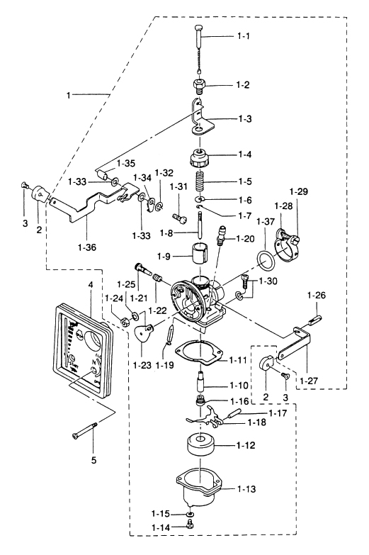
Reservdelar Bränsle förgasare & pumpar Tohatsu Flottörnål Tohatsu Lägg till en bevakning så meddelar vi dig så snart varan är i lager igen. Produkten är nu bevakad Vi meddelar dig så snart varan är i lager igen. E-postadress Lägg till bevakning Dina personuppgifter behandlas i enlighet med vår integritetspolicy. Flottörnål Tohatsu Flottörnål Tohatsu M 2,5 - M 3,5 hk, 2-takt Nr 1:19 i bild 2 Samma som Mercury art 952631 Fri frakt över 2000kr 30 dagars öppet köp Snabba leveranser Reservdelar Motortillbehör Oljor Kampanjer Sprängskisser Motorinformation