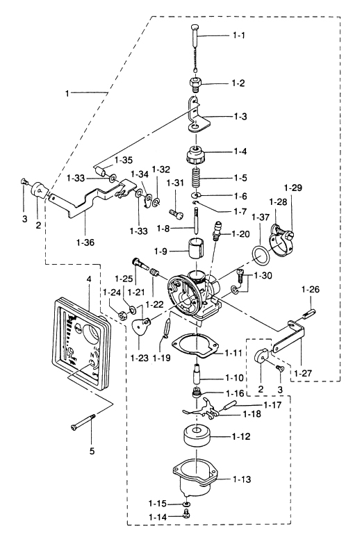
Reservdelar Bränsle förgasare & pumpar Tohatsu Flottör Tohatsu Lägg till en bevakning så meddelar vi dig så snart varan är i lager igen. Produkten är nu bevakad Vi meddelar dig så snart varan är i lager igen. E-postadress Lägg till bevakning Dina personuppgifter behandlas i enlighet med vår integritetspolicy. Flottör Tohatsu Flottör Tohatsu M 2,5 - M 3,5 hk, 2-takt Nr 1:12 i bild 2 Samma som Mercury art 95259 Fri frakt över 2000kr 30 dagars öppet köp Snabba leveranser Reservdelar Motortillbehör Oljor Kampanjer Sprängskisser Motorinformation