Fjäder justerskruv Suzuki
Lägg till en bevakning så meddelar vi dig så snart varan är i lager igen.
Fjäder justerskruv Suzuki
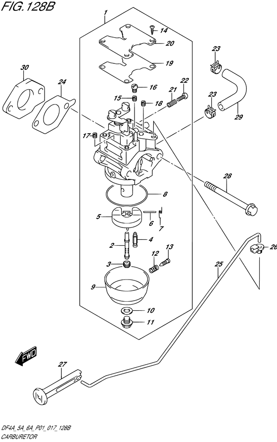
Fjäder dränerings/justerskruv förgasare Suzuki DF 2,5 - DF 6 A hk, vissa nyare modeller
Se sprängskiss för rätt del.
Nr 12 i bild
Fri frakt över 2000kr
30 dagars öppet köp
Snabba leveranser
