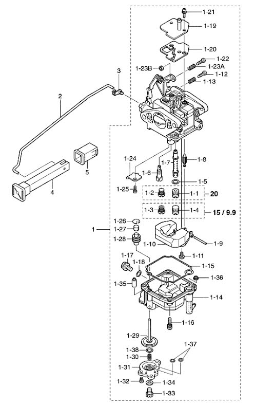
Fjäder förgasare Tohatsu
Lägg till en bevakning så meddelar vi dig så snart varan är i lager igen.
Fjäder förgasare Tohatsu
Fjäder membran förgasare Tohatsu MFS 15 C + D - MFS 20 C + D hk, 351 cc 4-takt
Nr 1-30 i bild
Samma som Mercury art 895116002
Fri frakt över 2000kr
30 dagars öppet köp
Snabba leveranser
