Wirehjul Mercury
Lägg till en bevakning så meddelar vi dig så snart varan är i lager igen.
Wirehjul Mercury
Wirehållare Mercury F 8 - F 9,9 hk 209 cc, F 10 - F 20 hk, 351 cc, F 25 - F 30 hk, 526 cc 4-takt rorkult
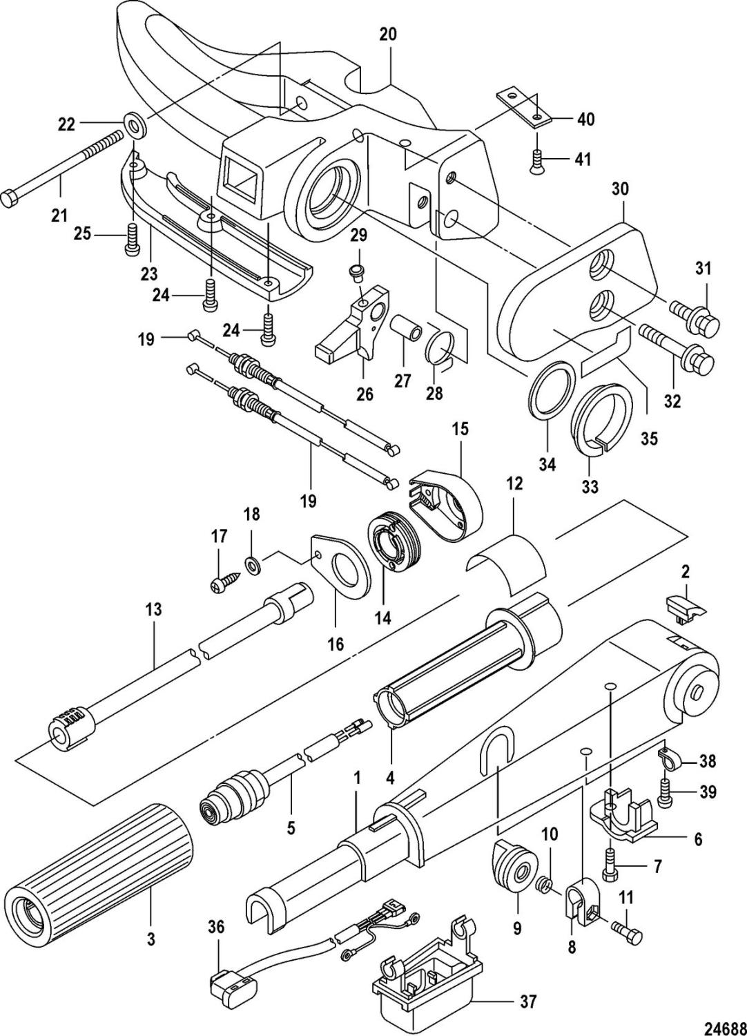
Nr 14 i bild 2
Se sprängskiss för rätt del.
Ers. Mercury art. 895137
Fri frakt över 2000kr
30 dagars öppet köp
Snabba leveranser
