Ventilationsslang Mercury
Lägg till en bevakning så meddelar vi dig så snart varan är i lager igen.
Ventilationsslang Mercury
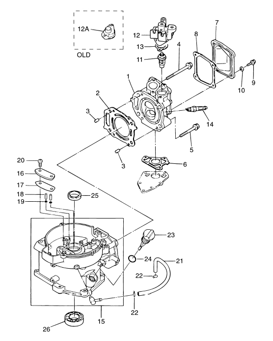
Ventilationsslang motorblock Mercury F 4 - F 6 hk, 123 cc, 4-takt
Se sprängskiss för rätt del
Nr 21 i bild 2
Samma som Tohatsu art 3R1-07435-0
Fri frakt över 2000kr
30 dagars öppet köp
Snabba leveranser
