Växelförare Tohatsu
Lägg till en bevakning så meddelar vi dig så snart varan är i lager igen.
Växelförare Tohatsu
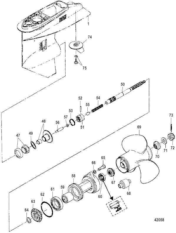
Cam follower, växelföljare, Tohatsu M 25 C - 30 A hk, samt M 40 D - M 50 D hk, 2-takt, MD 40 - MD 50 hk, TLDI och MFS 25 A+B+C+D - MFS 30 A+B+C+D hk, 4-takt
Nr 56 i bild 2
Samma som Mercury art 161521
Fri frakt över 2000kr
30 dagars öppet köp
Snabba leveranser
