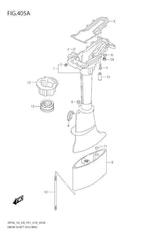
Reservdelar Powertrim & rigg Suzuki Vatteninspektionsplugg Suzuki Lägg till en bevakning så meddelar vi dig så snart varan är i lager igen. Produkten är nu bevakad Vi meddelar dig så snart varan är i lager igen. E-postadress Lägg till bevakning Dina personuppgifter behandlas i enlighet med vår integritetspolicy. Vatteninspektionsplugg Suzuki Inspektionsplugg kylvatten Suzuki DF 4 A - DF 6 A, 4-takt Nr 14 i bild Se sprängskiss för rätt del Fri frakt över 2000kr 30 dagars öppet köp Snabba leveranser Reservdelar Motortillbehör Oljor Kampanjer Sprängskisser Motorinformation