Topplocksbult Tohatsu
Lägg till en bevakning så meddelar vi dig så snart varan är i lager igen.
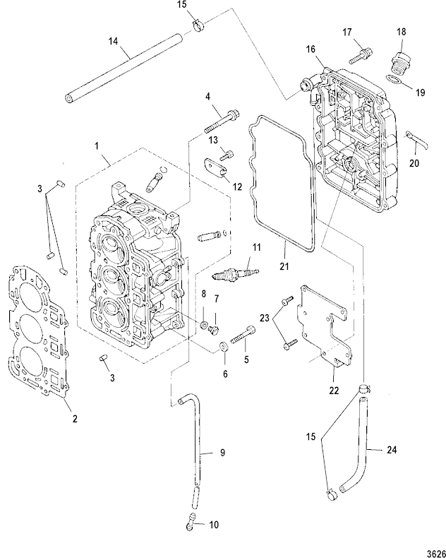
Topplocksbult Tohatsu
Topplocksbult Tohatsu MFS 10 - MFS 30 hk, 4-takt
Se sprängskiss för rätt del och rätt antal
Nr 4 i bild
Samma som Mercury art 855677002
Fri frakt över 2000kr
30 dagars öppet köp
Snabba leveranser
