Tätsats ventil Mercury
Lägg till en bevakning så meddelar vi dig så snart varan är i lager igen.
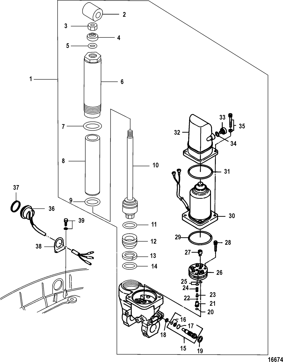
Tätsats ventil Mercury
Tätsats för manuell releaseventil trim Mercury art 898101115
Passar Mercury F 25 EFI - F 30 EFI, 4-takt 500 cc och 526 cc, Tohatsumodeller
Nr 16 i bild (2 st o-ringar)
Samma som Tohatsu art 3R0-77409-0
Fri frakt över 2000kr
30 dagars öppet köp
Snabba leveranser
