Tätning vattenrör Suzuki
Övre tätning kylvattenrör Suzuki DF 2,5 hk, 4-takt flera modeller.
Lägg till en bevakning så meddelar vi dig så snart varan är i lager igen.
Tätning vattenrör Suzuki
Övre tätning kylvattenrör Suzuki DF 2,5 hk, 4-takt flera modeller.
Övre tätning kylvattenrör Suzuki DF 2,5 hk, 4-takt flera modeller.
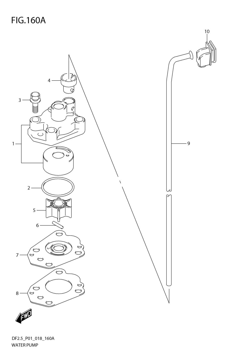
Nr 10 i bild 2
Se sprängskiss för rätt del.
Fri frakt över 2000kr
30 dagars öppet köp
Snabba leveranser
