Fjäder neutralstartklack Mercury
Fjäder för neutralstartklack Mercury
Lägg till en bevakning så meddelar vi dig så snart varan är i lager igen.
Fjäder neutralstartklack Mercury
Fjäder för neutralstartklack Mercury
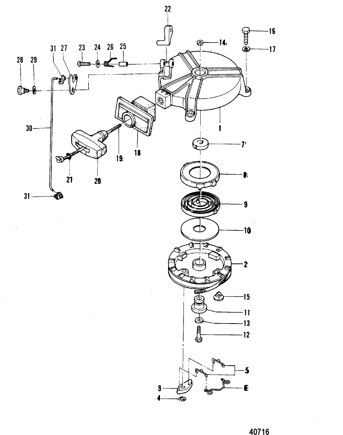
Fjäder för neutralstartklack 8M0056339 och 804031001, 4 - 18 hk, 2-takt Tohatsumod. samt nyare F 4 - F 6 hk samt F 8 - F 9,9 hk Tohatsumod
Nr 26 i bild 2
Samma som Tohatsu art 3R1-05216-0
Ers art 17638
Se sprängskiss för rätt del.
Fri frakt över 2000kr
30 dagars öppet köp
Snabba leveranser
