Starthus Mercury
Starthus manuell startapparat Mercury
Lägg till en bevakning så meddelar vi dig så snart varan är i lager igen.
Starthus Mercury
Starthus manuell startapparat Mercury
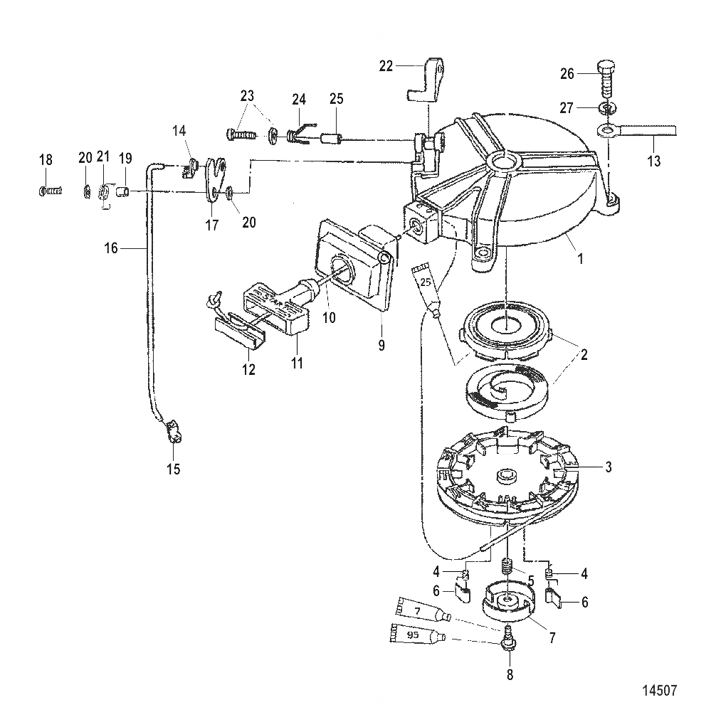
Starthus manuell startapparat Mercury 4 - 5 hk, 2-takt 102 cc samt F 4 - F 6 hk, 4-takt 123 cc Tohatsumodeller
Nr 1 i bild 2
Ers. Mercury art 8M0073416, 803576T, 812632002 och 812632
Samma som Tohatsu art 3R1-05105-0, tid 369-05105-0 (Tohatsu M 4 C - M 5 B, 2-takt samt MFS 4 - MFS 6, 4-takt)
Fri frakt över 2000kr
30 dagars öppet köp
Snabba leveranser
