Skruv kylvattenintag Mercury
Flera modeller 8 - 30 hk Tohatsu
Lägg till en bevakning så meddelar vi dig så snart varan är i lager igen.
Skruv kylvattenintag Mercury
Flera modeller 8 - 30 hk Tohatsu
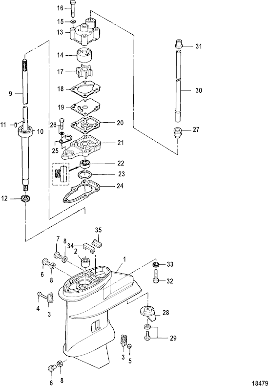
Skruv för kylvattenintag Mercury flera modeller 8 - 30 hk Tohatsumodeller
Se sprängskiss för rätt del
Ers art 898101165
Nr 4 i bild, mutter Mercury art 85372210 köps separat.
Samma som Tohatsu art 9215E3-0430, tid. 921513-0430
Fri frakt över 2000kr
30 dagars öppet köp
Snabba leveranser
