Skruv Mercury
Lägg till en bevakning så meddelar vi dig så snart varan är i lager igen.
Skruv Mercury
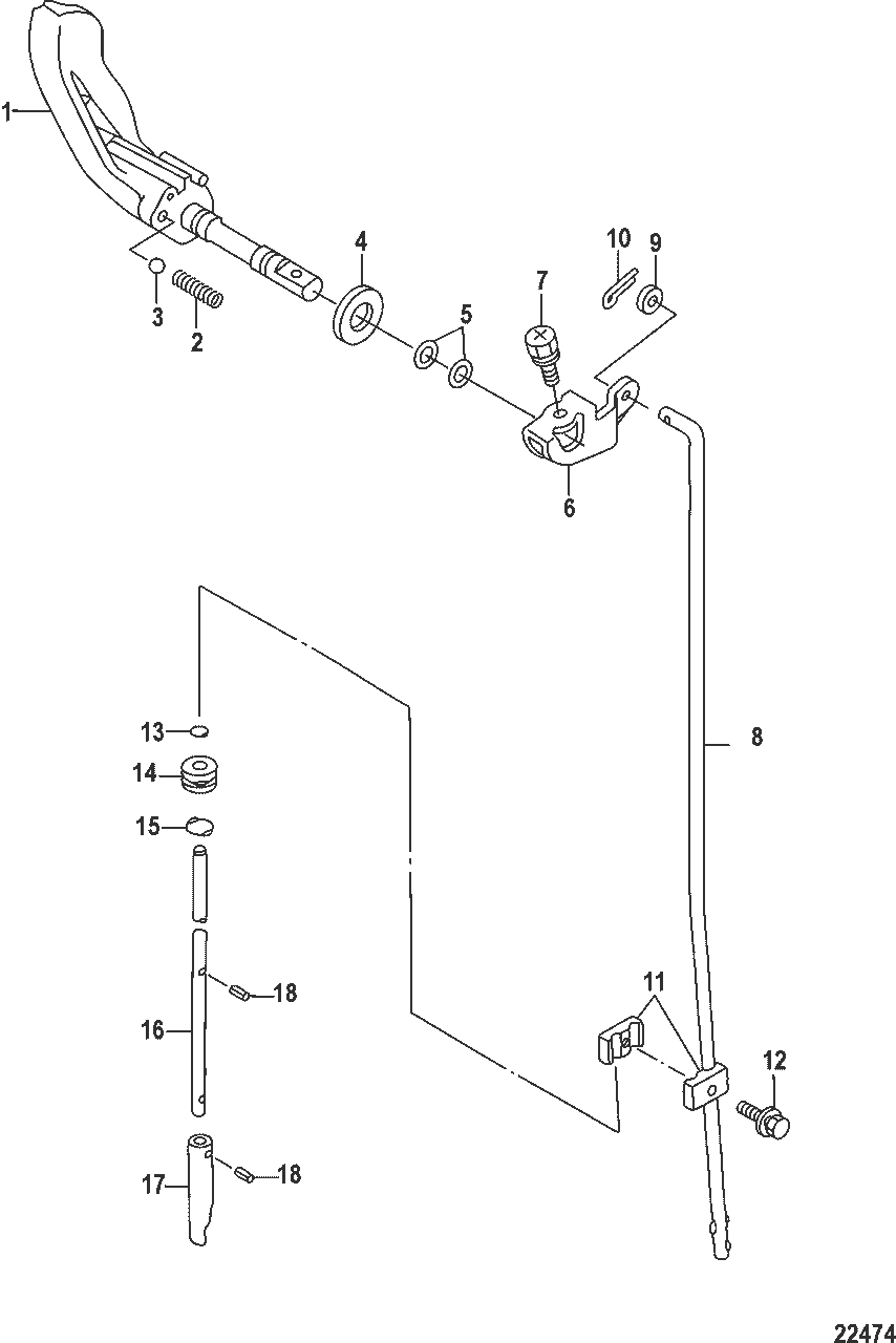
Skruv Mercury, sitter på fler ställen - se sprängskiss för rätt del och antal
Nr 7 i bild som visar F 3,5 hk
Ers art 953962
Samma som Tohatsu art 910903-6512
Fri frakt över 2000kr
30 dagars öppet köp
Snabba leveranser
