Shims växelhus Mercury
4 - 5 hk, 2-takt 102 cc samt F 4 - F 6 hk, 4-takt 123 cc och 25 - 30 hk, 430 cc, 2-takt och F 25 - F 30 hk, 4-takt
Lägg till en bevakning så meddelar vi dig så snart varan är i lager igen.
Shims växelhus Mercury
4 - 5 hk, 2-takt 102 cc samt F 4 - F 6 hk, 4-takt 123 cc och 25 - 30 hk, 430 cc, 2-takt och F 25 - F 30 hk, 4-takt
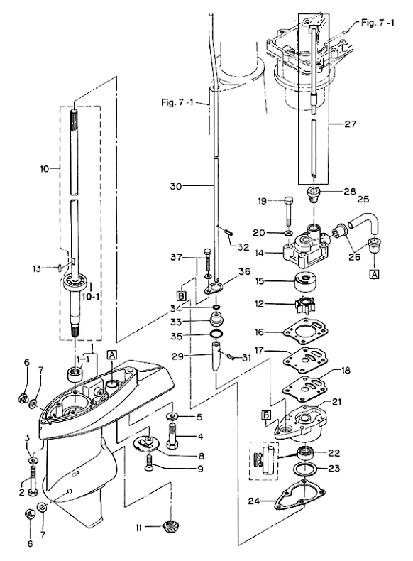
Shims växelhus Mercury 4 - 5 hk, 2-takt 102 cc samt F 4 - F 6 hk, 4-takt 123 cc - nr 23 i bild 2
samt propelleraxel 25 - 30 hk, 430 cc, 2-takt och F 25 - F 30 hk, 4-takt - nr 3 i bild 3
Samma som Tohatsu art 369-64082-1
0,15 mm
Fri frakt över 2000kr
30 dagars öppet köp
Snabba leveranser
