Shims drivaxel Mercury
9,9-18 hk, 25-30 hk, 2-takt samt F 9,9-F 20, 328 cc och 351 cc, F 25-F30 hk, 4-takt Tohatsusamarbete
Lägg till en bevakning så meddelar vi dig så snart varan är i lager igen.
Shims drivaxel Mercury
Shims växelhus Mercury 9,9 -18 hk, 25 - 30 hk, 430 cc, 2-takt samt F 9,9 - F 20 hk, 328 cc och 351 cc, F 25 - F30 hk, 4-takt Tohatsusamarbete
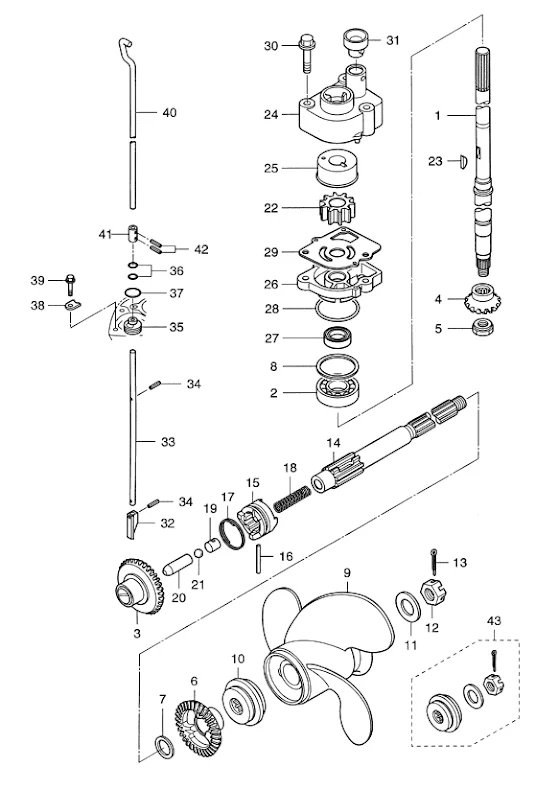
Se sprängskiss för rätt del och antal, drivaxel måste shimsa för rätt del/mått
Detta shim är 0,3 mm
Samma som Tohatsu art 346-64083-0
Nr 19 i bild 2, som visar 30 hk, 430 cc, 2-takt
Nr 8 i bild 3, som visar F 15 hk, 351 cc, 4-takt
Fri frakt över 2000kr
30 dagars öppet köp
Snabba leveranser
