Platta växling Mercury
Lägg till en bevakning så meddelar vi dig så snart varan är i lager igen.
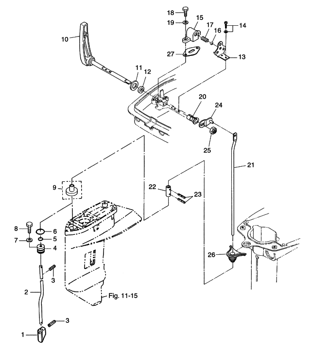
Platta växling Mercury
Platta växel Mercury 25 - 30 hk, 430 cc, 2-takt
Se sprängskiss för rätt del
Nr 13 i bild 2
Samma som Tohatsu art 346-66121-0
Fri frakt över 2000kr
30 dagars öppet köp
Snabba leveranser
