Plåt flamskydd Mercury
Lägg till en bevakning så meddelar vi dig så snart varan är i lager igen.
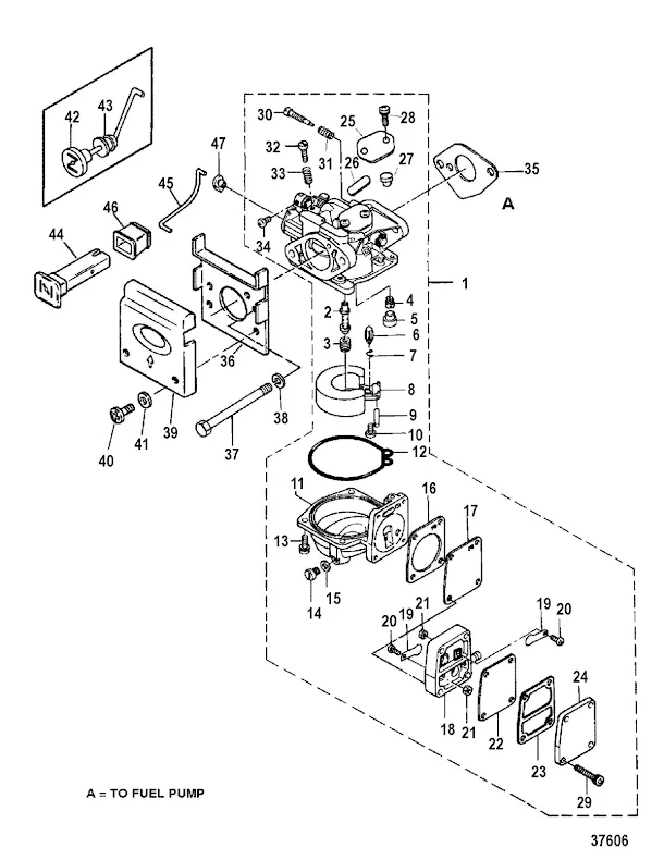
Plåt flamskydd Mercury
Plåt flamskydd förgasare Mercury 4 - 5 hk, 102 cc, 2-takt
Se sprängskiss för rätt del
Nr 36 i bild
Ers art 16328
Samma som Tohatsu art 369-02503-2
Fri frakt över 2000kr
30 dagars öppet köp
Snabba leveranser
