Pinne trim Mercury
Lägg till en bevakning så meddelar vi dig så snart varan är i lager igen.
Pinne trim Mercury
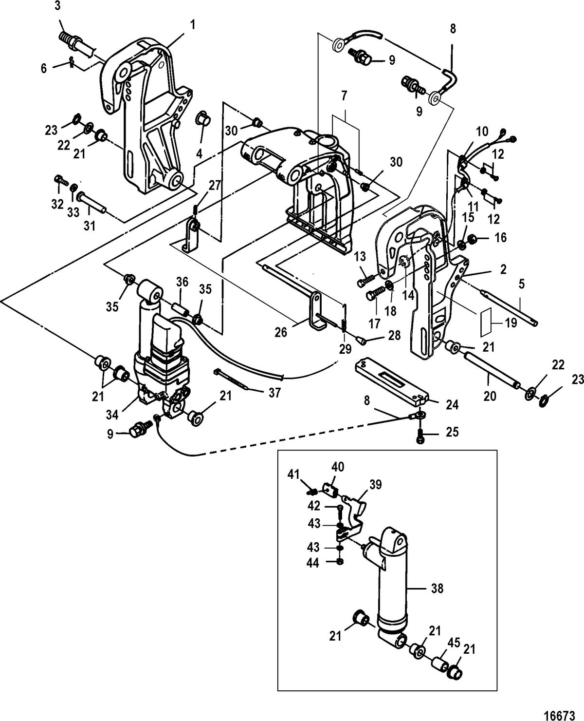
Övre pinne powertrim/tilt Mercury F 8 - F 9,9 hk 209 cc, F 10 - F 20 hk 333 cc och 351 cc, F 25 - F 30 hk 526 cc, 4-takt samt 40 - 50 hk, 697 cc 2-takt Tohatsumodeller med trim/tilt.
Nr 31 i bild 2
Ers. Mercury art. 851874002 samt 851874004
Se sprängskiss för rätt del.
Samma som Tohatsu art 3KY-77071-0
Fri frakt över 2000kr
30 dagars öppet köp
Snabba leveranser
