Packning drän.skruv Mercury
Lägg till en bevakning så meddelar vi dig så snart varan är i lager igen.
Packning drän.skruv Mercury
Packning dräneringsskruv 9,9 - 18 hk 2-takt 247 cc samt 40 Lightning/XR - 50MH 2-takt 697 cc (Tohatsu)
Samma som Tohatsu art 3C8-03193-0
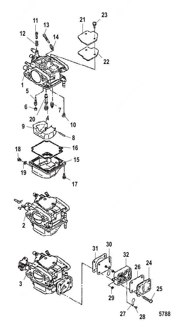
Nr 19 i bild
Ers art 8555671
Fri frakt över 2000kr
30 dagars öppet köp
Snabba leveranser
