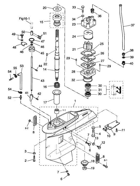
Reservdelar Växelhusdelar Tohatsu O-ring Tohatsu Lägg till en bevakning så meddelar vi dig så snart varan är i lager igen. Produkten är nu bevakad Vi meddelar dig så snart varan är i lager igen. E-postadress Lägg till bevakning Dina personuppgifter behandlas i enlighet med vår integritetspolicy. O-ring Tohatsu O-ring växelstång Tohatsu M 60 C - M 90 A - M 140 A, 2-takt samt MD 70 B - MD 115 A, TLDI Se sprängskiss för rätt del. Nr 32 i bild 2 Fri frakt över 2000kr 30 dagars öppet köp Snabba leveranser Reservdelar Motortillbehör Oljor Kampanjer Sprängskisser Motorinformation