Mutter kylvattenintag Mercury
8 - 50 hk Tohatsusamarbete flera
Lägg till en bevakning så meddelar vi dig så snart varan är i lager igen.
Mutter kylvattenintag Mercury
8 - 50 hk Tohatsusamarbete flera
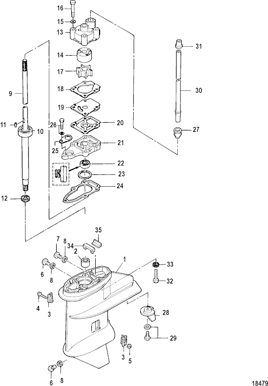
Mutter för kylvattenintag Mercury flera modeller 8 - 50 hk Tohatsumodeller
Se sprängskiss för rätt del
Nr 5 i bild, skruv Mercury art 17635 köps separat till 8 - 30 hk, skruv 8555444 till 40 - 50 hk.
Samma som Tohatsu art 930403-0400
Fri frakt över 2000kr
30 dagars öppet köp
Snabba leveranser
