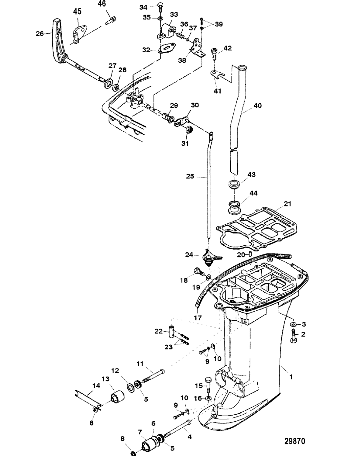
Motorbussning Mercury
Lägg till en bevakning så meddelar vi dig så snart varan är i lager igen.
Motorbussning Mercury
Motorbussningar, övre, Mercury 25 - 30 hk, 2-takt 430 cc Tohatsumodell
2 st åtgår per motor, nr 13 i bild
Ersätter Mercury art 853771
Samma som Tohatsu art 346-61301-1
Fri frakt över 2000kr
30 dagars öppet köp
Snabba leveranser
