Lock förgasare Mercury
Lägg till en bevakning så meddelar vi dig så snart varan är i lager igen.
Lock förgasare Mercury
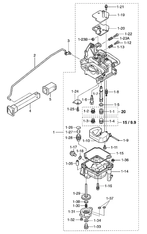
Lock förgasare Mercury F 15 - F 20 hk, 351 cc, 4-takt
Nr 1-19 i bild
Samma som Tohatsu art 3BJ-03181-0 (Tohatsu MFS 15 C+D - MFS 20 C+D)
Fri frakt över 2000kr
30 dagars öppet köp
Snabba leveranser
