Låsning kylvattenrör Tohatsu
Låsbleck kylvattenrör Tohatsu MFS 40 A - MFS 60 A, 4-takt
Lägg till en bevakning så meddelar vi dig så snart varan är i lager igen.
Låsning kylvattenrör Tohatsu
Låsbleck kylvattenrör Tohatsu MFS 40 A - MFS 60 A, 4-takt
Låsbleck kylvattenrör Tohatsu MFS 40 A - MFS 60 A, 4-takt
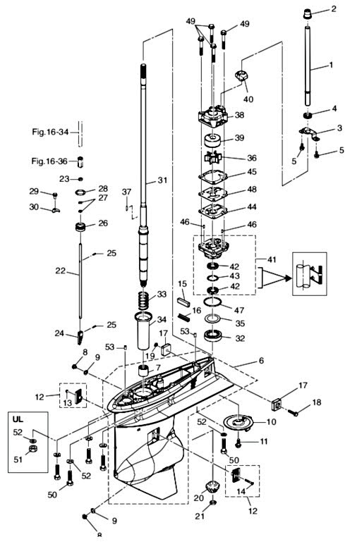
Nr 3 i bild.
Fri frakt över 2000kr
30 dagars öppet köp
Snabba leveranser
