Låsning Mercury
Lägg till en bevakning så meddelar vi dig så snart varan är i lager igen.
Låsning Mercury
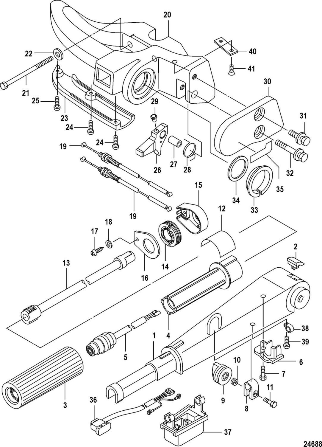
Låsning friktionsskruv rorkult, flera Mercury 2-takt och 4-takt, Tohatsumodeller
Se sprängskiss för rätt del
Nr 8 i bild 2
Ers. Mercury art. 813026001
Fri frakt över 2000kr
30 dagars öppet köp
Snabba leveranser
