Propellerlagerhus Mercury
4 - 5 hk, 2-takt 102 cc samt F 4 - F 6 hk, 4-takt 123 cc
Lägg till en bevakning så meddelar vi dig så snart varan är i lager igen.
Propellerlagerhus Mercury
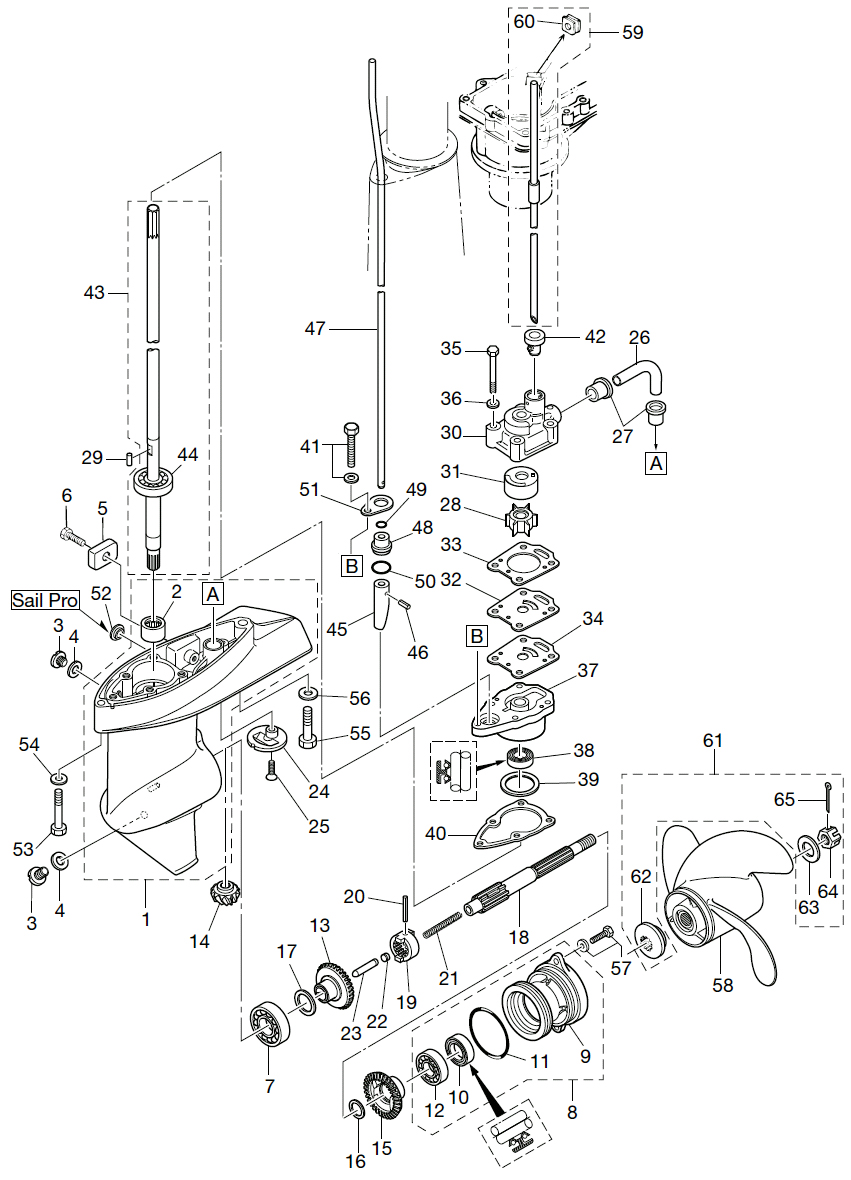
Lagerhus, trådrulle, i växelhus Mercury 4 - 5 hk, 2-takt 102 cc samt F 4 - F 6 hk, 4-takt 123 cc , Tohatsumodeller
Samma som Tohatsu art 369Q60101-1
Ers. Mercury art 825118 och 16129
Lager och tätningar ingår ej-enbart nr 9 i bild 2
Lager art 16132 (Tohatsu art 9601-0-6002), nr 12 samt O-ring art 16131 (Tohatsu art 345-65015-0), nr 11 samt Packbox art 16130 (Tohatsu art 369-60111-0), nr 10 beställs separat.
Fri frakt över 2000kr
30 dagars öppet köp
Snabba leveranser
