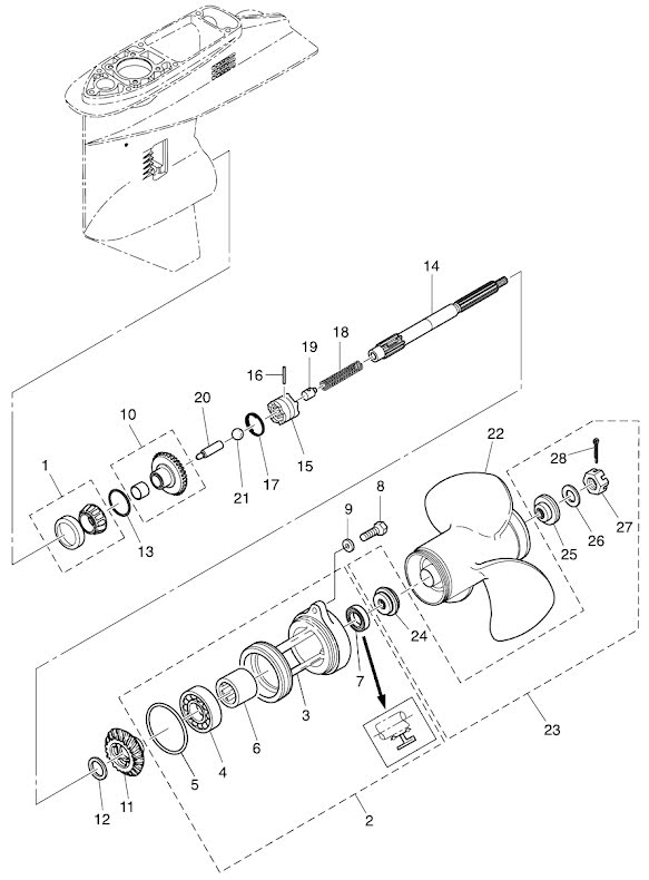
Reservdelar Växelhusdelar Tohatsu Lagerhus Tohatsu Lägg till en bevakning så meddelar vi dig så snart varan är i lager igen. Produkten är nu bevakad Vi meddelar dig så snart varan är i lager igen. E-postadress Lägg till bevakning Dina personuppgifter behandlas i enlighet med vår integritetspolicy. Lagerhus Tohatsu Lagerhus växelhus Tohatsu M 40 D - M 50 D, 2-takt samt MD 40 - MD 50 hk, TLDI Utan lager och tätningar Nr 3 i bild 2 Fri frakt över 2000kr 30 dagars öppet köp Snabba leveranser Reservdelar Motortillbehör Oljor Kampanjer Sprängskisser Motorinformation