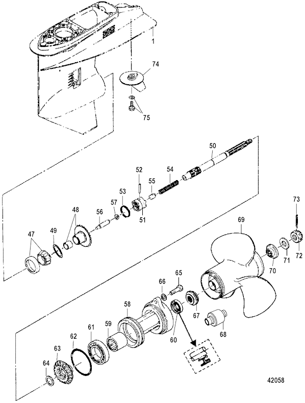
Kula växelhus Tohatsu
Lägg till en bevakning så meddelar vi dig så snart varan är i lager igen.
Kula växelhus Tohatsu
Kula propelleraxel Tohatsu M 25 C - M 30 A och M 40 D - M 50 D och 50 C - 60 A - 70 A, 2-takt, MD 40 - MD 50 hk, TLDI, MFS 9,9 C + D - MFS 20 C + D och MFS 25 - MFS 30 och MFS 40 A - MFS 60 A, 4-takt
Nr 57 i bild 2
Samma som Mercury art 161322
Fri frakt över 2000kr
30 dagars öppet köp
Snabba leveranser
