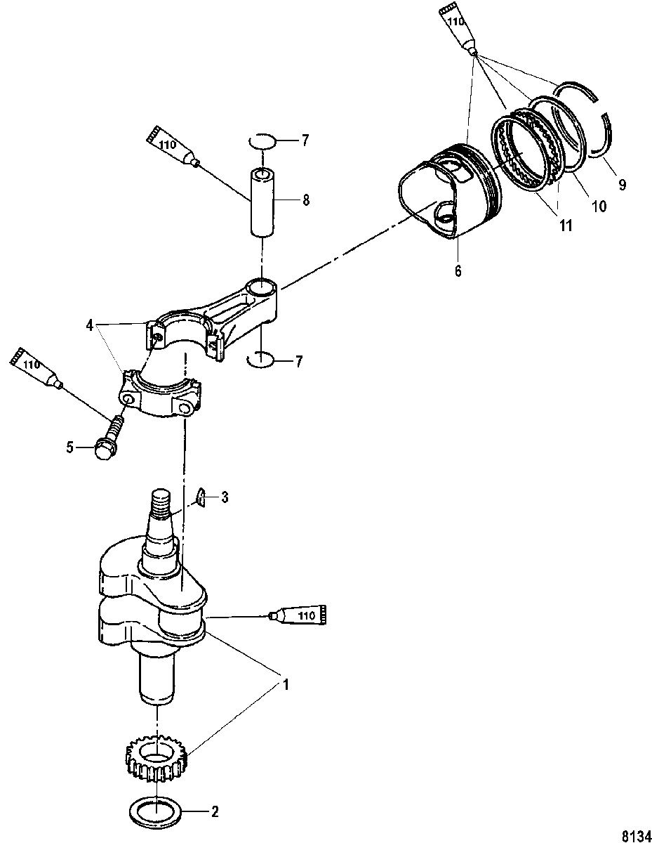
Kolvbultslåsning Mercury
Lägg till en bevakning så meddelar vi dig så snart varan är i lager igen.
Kolvbultslåsning Mercury
Låsclip kolvbult Mercury F 4 - F 6 123 cc, 4-takt, F 9,9 - F 20 328 cc och 351 cc, 4-takt , F 9,9 EFI - F 20 EFI , 333 cc , 4-takt, F 25 - F 30 492 cc och 526 cc 4-takt, Tohatsumodeller.
Samma som Tohatsu art 3H6-00024-0
Nr 7 i bild.
Se sprängskiss för rätt del och antal
Fri frakt över 2000kr
30 dagars öppet köp
Snabba leveranser
