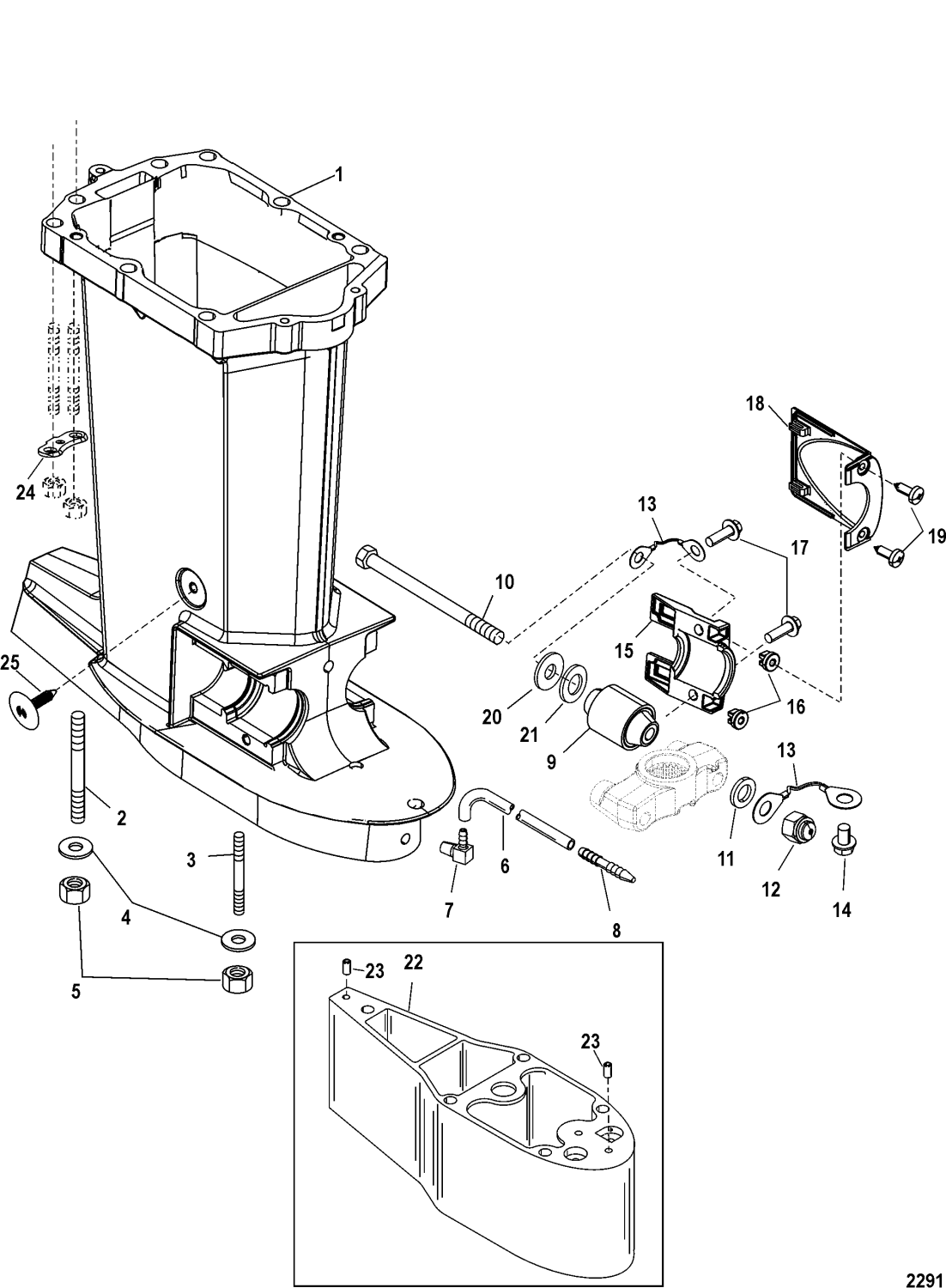
Kåpor motorbussning Mercury
Lägg till en bevakning så meddelar vi dig så snart varan är i lager igen.
Kåpor motorbussning Mercury
Kåpa nedre motorbussning Mercury 75 - 115 hk, 1,5 liter Optimax/DFI.
Sitter även på vissa 2-taktsmotorer - se sprängskiss för rätt del.
Lika på babord och styrbord sida, dvs 2 st åtgår per motor.
Nr 18 i bild 1
Ers art 8M0000852 och 882752
Skruvar, nr 19 art 88417 beställs separat
Fri frakt över 2000kr
30 dagars öppet köp
Snabba leveranser
