Kam växel Mercury
F 30 EFI - F 60 EFI, 4-takt flera modeller
Lägg till en bevakning så meddelar vi dig så snart varan är i lager igen.
Kam växel Mercury
F 30 EFI - F 60 EFI, 4-takt flera modeller
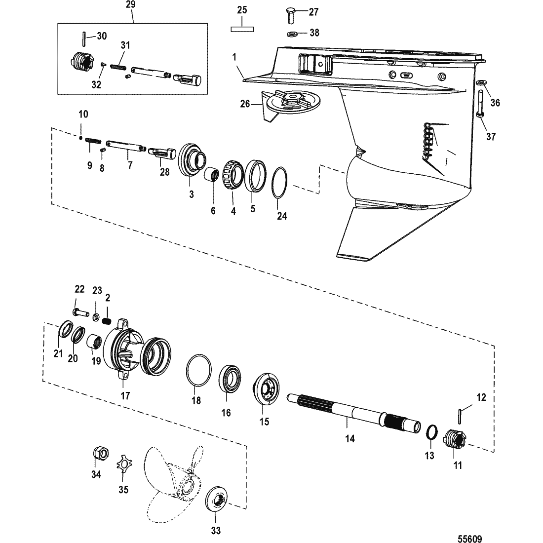
Kam/follower/växelarm växelhus Mercury F 30 EFI - F 60 EFI, 4-takt flera modeller
Se sprängskiss för rätt del
Nr 28 i bild 2
Ers. Mercury art 8M0008716
Fri frakt över 2000kr
30 dagars öppet köp
Snabba leveranser
