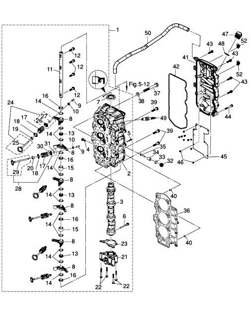
Reservdelar Motordelar Tohatsu Insugsventil Tohatsu Lägg till en bevakning så meddelar vi dig så snart varan är i lager igen. Produkten är nu bevakad Vi meddelar dig så snart varan är i lager igen. E-postadress Lägg till bevakning Dina personuppgifter behandlas i enlighet med vår integritetspolicy. Insugsventil Tohatsu Insugsventil Tohatsu MFS 60 A Se sprängskiss för rätt del, 6 st. åtgår per motor Nr 25 i bild Fri frakt över 2000kr 30 dagars öppet köp Snabba leveranser Reservdelar Motortillbehör Oljor Kampanjer Sprängskisser Motorinformation