Fjäderhållare propelleraxel Mercury
40 - 50 hk, 697 cc 2-takt
Lägg till en bevakning så meddelar vi dig så snart varan är i lager igen.
Fjäderhållare propelleraxel Mercury
40 - 50 hk, 697 cc 2-takt
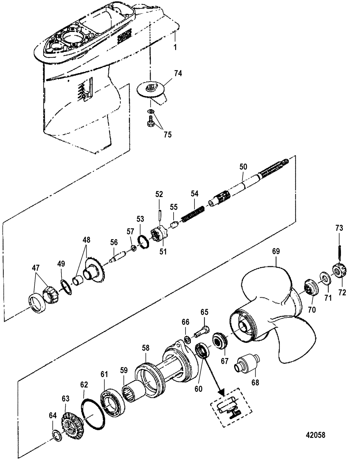
Hållare fjäder växelhus Mercury 40 - 50 hk, 697 cc 2-takt, Tohatsumodeller
Nr 55 i bild 2
Samma som Tohatsu 3C8-64222-0 (Tohatsu M 40 D - M 50 D, 2-takt, MD 40 - MD 50 hk, TLDI samt MFS 40 A - MFS 60 A, 4-takt )
Fri frakt över 2000kr
30 dagars öppet köp
Snabba leveranser
