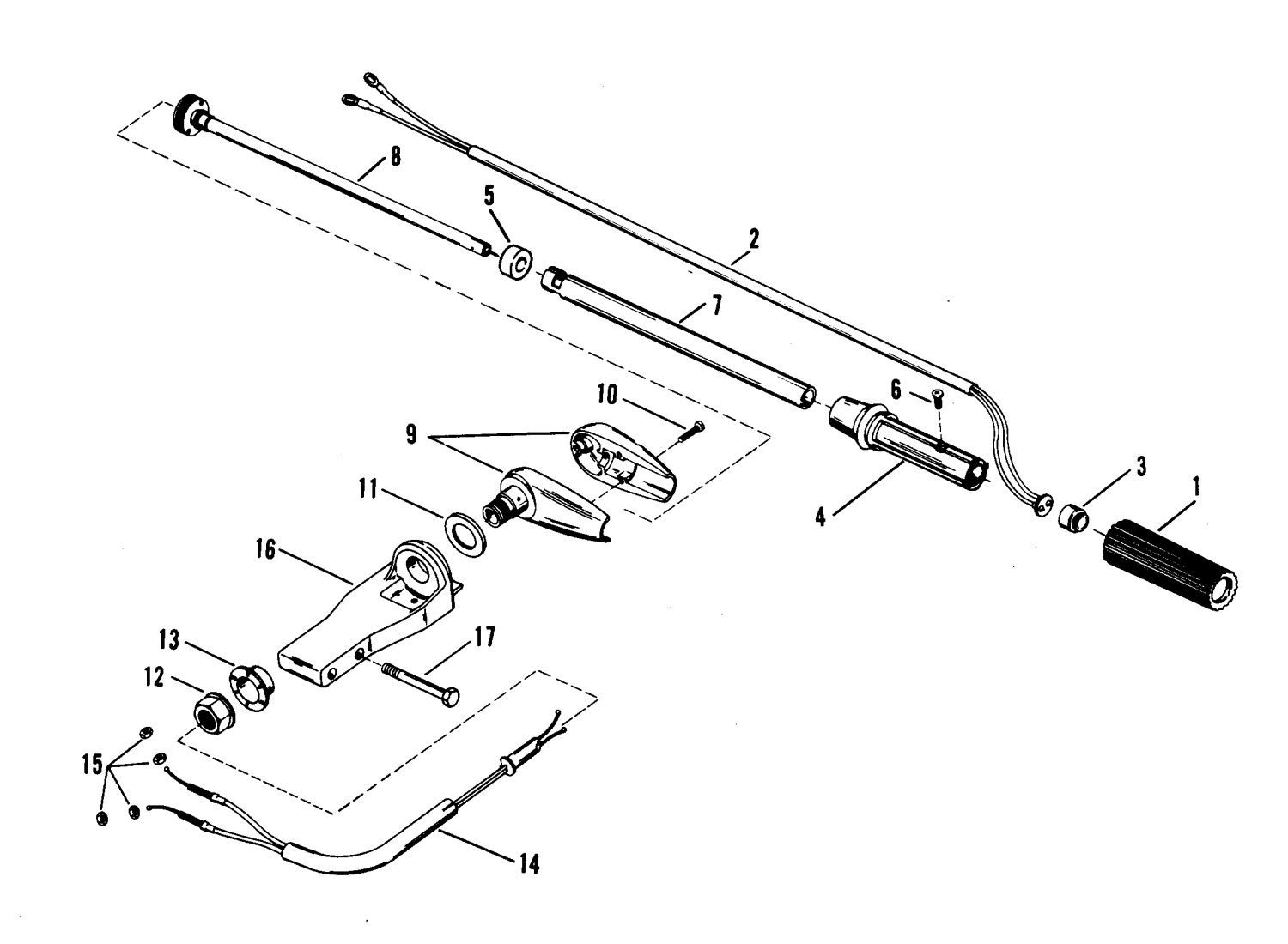
Gummi rorkult Mercury
Lägg till en bevakning så meddelar vi dig så snart varan är i lager igen.
Gummi rorkult Mercury
Gummi rorkult Mercury, flera modeller 2-takt och 4-takt
Se sprängskiss för rätt del
Nr 1 i bild 2, hål i framkant för stoppknapp
Ers Mercury art 99589
Fri frakt över 2000kr
30 dagars öppet köp
Snabba leveranser
