Gasrulle Mercury
Lägg till en bevakning så meddelar vi dig så snart varan är i lager igen.
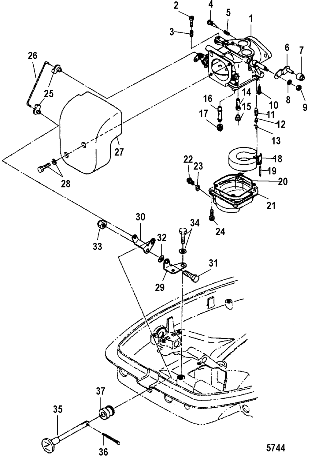
Gasrulle Mercury
Gasrulle Mercury 25 - 30 hk, 2-takt 430 cc Tohatsumodell
Nr 7 i bild
Samma som Tohatsu art 346-03264-0
Slut i lager, kommer in 25/11-24
Fri frakt över 2000kr
30 dagars öppet köp
Snabba leveranser
