Gaskam Mercury
Lägg till en bevakning så meddelar vi dig så snart varan är i lager igen.
Gaskam Mercury
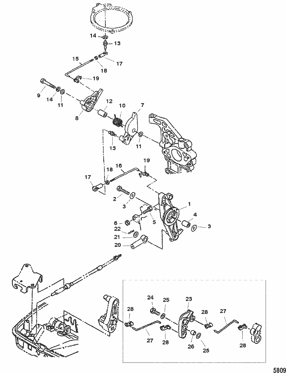
Gaskam Mercury 50 hk, 2-takt Lightning/XR 697 cc, Tohatsumodell.
Samma som Tohatsu art 3E3-63718-1
Nr 7 i bild 2
Se sprängskiss för rätt del
Fri frakt över 2000kr
30 dagars öppet köp
Snabba leveranser
