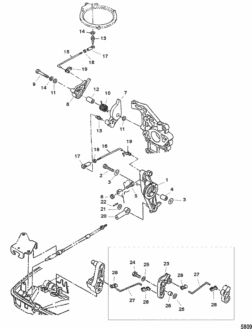
Gasarm Mercury
Lägg till en bevakning så meddelar vi dig så snart varan är i lager igen.
Gasarm Mercury
Gasarm Mercury 40 - 50 hk, 2-takt Lightning/XR 697 cc, Tohatsumodell.
Samma som Tohatsu art 3C8-63711-1
Nr 1 i bild 2
Enbart armen, ej länkar eller låsningar
Se sprängskiss för rätt del
Fri frakt över 2000kr
30 dagars öppet köp
Snabba leveranser
