Gasarm Mercury
Lägg till en bevakning så meddelar vi dig så snart varan är i lager igen.
Gasarm Mercury
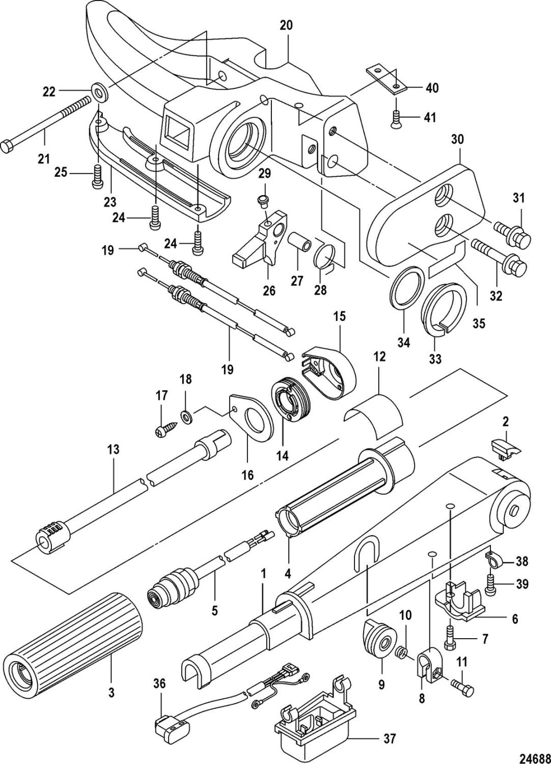
Gasarm, pinne, Mercury F 8 - F 9,9 hk, 209 cc flera modeller förg. och EFI, samt flera rorkultssatser till F 10 - F 20 hk, 351 cc och F 25 - F 30 hk, 500 cc
Se sprängskiss för rätt del
Nr 13 i bild 2
Ers. Mercury art 803998001, 803998003, 803998004, 898101206
Fri frakt över 2000kr
30 dagars öppet köp
Snabba leveranser
