Förgasarpackningssats Tohatsu
Lägg till en bevakning så meddelar vi dig så snart varan är i lager igen.
Förgasarpackningssats Tohatsu
Förgasarpackningssats Tohatsu M 2,5 - M 3,5 hk, 2-takt
Innehåller art:
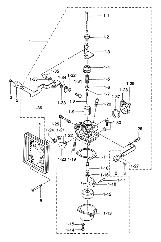
309-03154-0 , Jet ventillåsning - nr 7 i bild 2
3F0-03153-3 , Jet munstycke - nr 8 i bild 2
309-03121-0 , Packning förgasarhalvor
309-03125-0 , Flottör
309-03193-0 , Packning dräneringsskruv
309-03126-0 , Låspinne flottör - nr 17 i bild 2
309-03147-1 , Flottörnål - nr 19 i bild 2
3D7-03148-0 , Säte, nålventil - nr 20 i bild 2
309-03156-0 , Stoppskruv - nr 21 i bild 2
921532-6410 , Skruv 2 st. - nr 30 i bild 2
309-03116-2 , O-ring förgasarhals - nr 37 i bild 2.
Samma som Mercury art 8M0171816
Fri frakt över 2000kr
30 dagars öppet köp
Snabba leveranser
