Flottörstyrning Mercury
Lägg till en bevakning så meddelar vi dig så snart varan är i lager igen.
Flottörstyrning Mercury
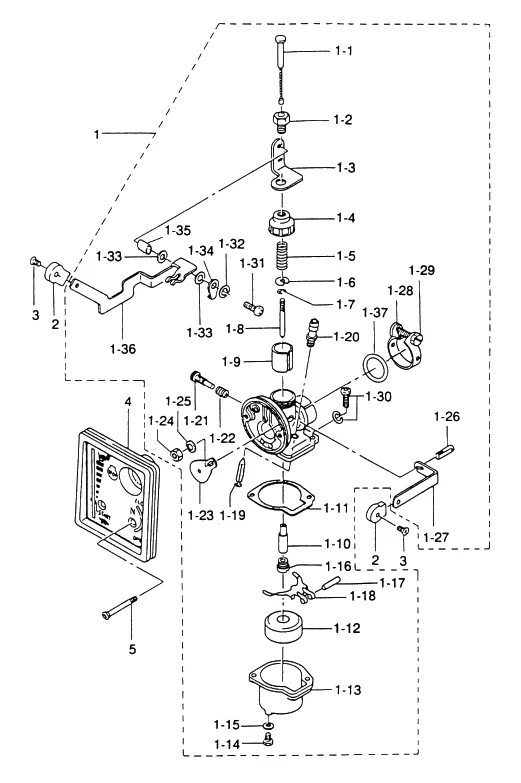
Flottörhållare Mercury 2 - 3,3 hk 2-takt, Tohatsumodeller.
Samma som Tohatsu art 309-03127-1
Nr 1:18 i bild 2
Se sprängskiss för rätt del
Fri frakt över 2000kr
30 dagars öppet köp
Snabba leveranser
